Тачка.Ру +7 (495) 120-10-50
Ищем...

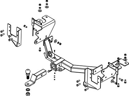
Фаркоп Bizon под американский квадрат для Dongfeng ix7 2023-2026. Артикул FA 0710-E

Бренд: Bizon — НТИ-ГРУПП (Россия) Артикул: FA 0710-E
21 140 ₽

✓ В наличии: 10

Доставка: 16 апреля (чт)

Цена доставки: Бесплатно

Самовывоз: 16 апреля (чт)

Характеристики

Вес 22 кг
Вырез бампера Не требуется
Нагрузка 1500/160
Электрика Приобретается отдельно
Тип шара Е - легкосъёмный "американский" квадрат 50х50
Крепление крюка Легкосъемный шар под квадрат 50х50
Покрытие Дробеструйная обработка + цинкосодержащий грунт + полимерное покрытие

С этим товаром покупают

Описание

Фаркоп компании "Бизон" на DongFeng имеет наивысшую степень качества и соответствует всем

техническим регламентам о безопасности колесных транспортных средств, что подтверждено сертификатом под номером № C-RU.АД50.В.05371/23.

ТСУ полностью проходит пескоструйную обработку и покрывается цинкосодержащим грунтом, что гарантирует долговечную защиту от коррозии, встречающаяся на фаркопах других производителей. При окрашивании наших изделий, Мы используем только самую качественную порошковую краску, таких производителей как AкzоNоbel, ЕUROPOLVERI (Italy) и др.

Фаркопы компании "Бизон" комплектуются болтами повышенной прочности

Комплект электрики и колпачок на шар приобретаются отдельно!

21 140 ₽

Выберите город

Популярные города

Город не найден

Вход в личный кабинет

Введите номер телефона для получения кода подтверждения.

Напишите нам в WhatsApp — вы войдёте автоматически.

Открыть WhatsApp

Пункты выдачи

В вашем городе нет пунктов выдачи