Тачка.Ру +7 (495) 120-10-50
Ищем...

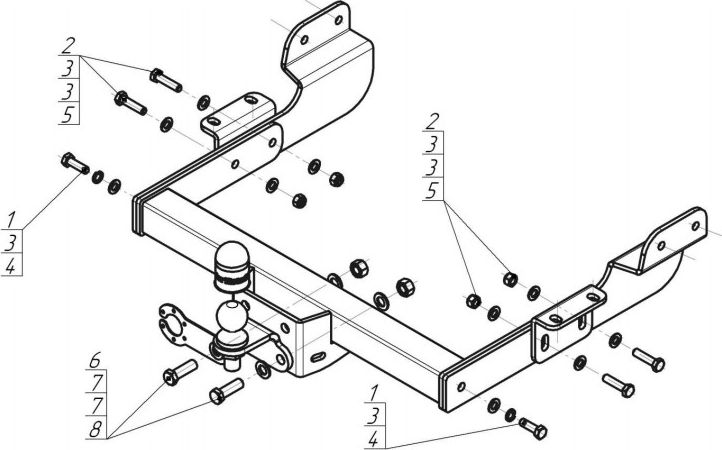
Фаркоп Мотодор для Ford Transit 2014-2026. Артикул 90709-F

Бренд: Мотодор — Трио-Сервис (Россия) Артикул: 90709-F
20 350 ₽

✓ В наличии: 2

Доставка: 17 апреля (пт)

Цена доставки: Бесплатно

Самовывоз: 17 апреля (пт)

Характеристики

Вес 21,5 кг
Материал Сталь 8 мм
Вырез бампера Нет
Нагрузка 100/2500
Электрика Приобретается отдельно
Тип шара FE
Крепление крюка Фланцевое крепление (на 2-х болтах)

С этим товаром покупают

Аналогичные товары

Популярные товары в этой категории:

Перевозка грузов на фаркопе

Крепления для велосипедов на фаркоп

Подключение фаркопа

Подключение без блока согласования

Подключение с блоком согласования

20 350 ₽

Выберите город

Популярные города

Город не найден

Вход в личный кабинет

Введите номер телефона для получения кода подтверждения.

Напишите нам в WhatsApp — вы войдёте автоматически.

Открыть WhatsApp

Пункты выдачи

В вашем городе нет пунктов выдачи