Тачка.Ру +7 (495) 120-10-50
Ищем...

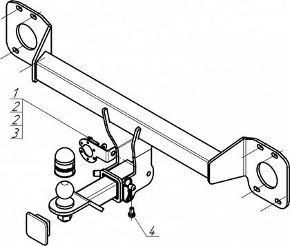
Фаркоп Мотодор оцинкованный для Geely Atlas 2024-2026. Американский квадрат.. Артикул 94209-E

Бренд: Мотодор — Трио-Сервис (Россия) Артикул: 94209-E
13 780 ₽

✓ В наличии: 19

Доставка: 15 апреля (ср)

Цена доставки: Бесплатно

Самовывоз: 14 апреля (завтра)

Характеристики

Вес 16,8 кг
Материал Сталь 8 мм
Толщина 8 мм
Вырез бампера Да
Нагрузка 75/1500
Электрика Приобретается отдельно
Тип шара Е, оцинкованный
Двигатель Бензиновый, V - 2,0
Размер 1110x350x210 мм
Крепление крюка Крюк легкосъемный под американский квадрат
Привод Передний, полный

С этим товаром покупают

Аналогичные товары

Популярные товары в этой категории:

Популярные товары

Популярные товары для вашего авто

13 780 ₽

Выберите город

Популярные города

Город не найден

Вход в личный кабинет

Введите номер телефона для получения кода подтверждения.

Напишите нам в WhatsApp — вы войдёте автоматически.

Открыть WhatsApp

Пункты выдачи

В вашем городе нет пунктов выдачи