Тачка.Ру +7 (495) 120-10-50
Ищем...

Фаркоп Мотодор для Mitsubishi Xpander Cross 2017-2026. Оцинкованный шар. Артикул 91314-A

Бренд: Мотодор — Трио-Сервис (Россия) Артикул: 91314-A
11 340 ₽

✓ В наличии: 14

Доставка: 17 апреля (пт)

Цена доставки: Бесплатно

Самовывоз: 16 апреля (завтра)

Характеристики

Вес 16,1 кг
Толщина 8 мм
Вырез бампера Не требуется
Нагрузка 75/1500
Электрика Приобретается отдельно
Тип шара A, Оцинкованный
Двигатель Бензиновый V- 1.5
Размер 880x260x180 мм
Крепление крюка Условно съемный крюк (на болтах)
Габариты в упаковке 880x260x180 мм

С этим товаром покупают

Популярные товары

Популярные товары для вашего авто

Описание

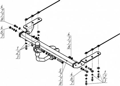
Установку ТСУ допускается производить только в сертифицированных установочных центрах.
1. Приложить боковые кронштейны к отверстиям в лонжеронах (для крепежа кронштейнов используются два задних отверстия) и напротив заднего отверстия в кронштейне наметить и просверлить отверстие в лонжероне диаметром 13 мм. Через штатные отверстия (для доступа в левое отверстие на время монтажа планки открутить кронштейн заливной трубки топливного бака) установить в лонжероны закладные планки. Прикрепить к планкам боковые кронштейны при помощи болтов М10х40 с шайбами и гр. шайбами 10.
2. Для удобства монтажа демонтировать запасное колесо. Закрепить балку ТСУ между боковыми кронштейнами при помощи болтов М12х40, гаек М12 с шайбами и гр. шайбами 12. Вернуть на место запасное колесо.
3. Установить шар и подрозетник, затянуть все крепёжные элементы с необходимым усилием.
4. Выполнить электромонтаж розетки световой сигнализации.
11 340 ₽

Выберите город

Популярные города

Город не найден

Вход в личный кабинет

Введите номер телефона для получения кода подтверждения.

Напишите нам в WhatsApp — вы войдёте автоматически.

Открыть WhatsApp

Пункты выдачи

В вашем городе нет пунктов выдачи