Тачка.Ру +7 (495) 120-10-50
Ищем...

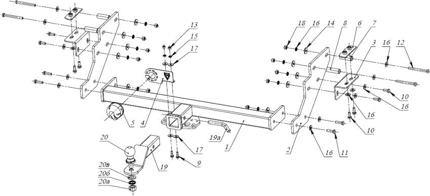
Фаркоп Bizon для Nissan NP300 2008-2015 с накладкой из нержавеющей стали. Быстросъемный крюк. Артикул FA 0466-E(N)

Бренд: Bizon — НТИ-ГРУПП (Россия) Артикул: FA 0466-E(N)

Характеристики

Вес 22 кг
Вырез бампера Нет
Нагрузка 3000/120
Электрика Приобретается отдельно
Крепление крюка Американский квадрат 50х50
Балка Открытая с накладкой из нержавеющей стали
Покрытие Пескоструйная обработка, цинкосодержащий грунт, полимерное покрытие
Прочее Система антистук

С этим товаром покупают

Аналогичные товары

Популярные товары в этой категории:

Перевозка грузов на фаркопе

Крепления для велосипедов на фаркоп

Подключение фаркопа

Подключение без блока согласования

Подключение с блоком согласования

Популярные товары

Популярные товары для вашего авто

Выберите город

Популярные города

Город не найден

Вход в личный кабинет

Введите номер телефона для получения кода подтверждения.

Напишите нам в WhatsApp — вы войдёте автоматически.

Открыть WhatsApp

Пункты выдачи

В вашем городе нет пунктов выдачи