Тачка.Ру +7 (495) 120-10-50
Ищем...

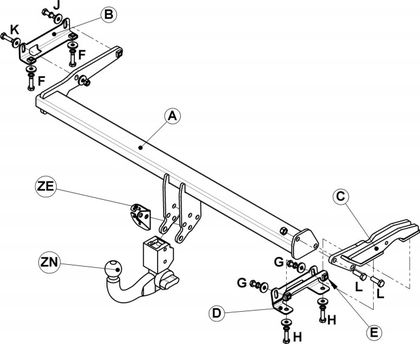
Фаркоп Witter для Nissan Qashqai II 2013-2026 (вкл. AdBlue). Быстросъемный крюк. Артикул DT152Q

Бренд: Witter — Witter Towbars (Великобритания) Артикул: DT152Q

Характеристики

Вес 25 кг
Вырез бампера Невидимый
Нагрузка 1800/100
Электрика Приобретается отдельно
Тип шара V
Установка от 3000 руб. (c подключением электрики)
Крепление крюка Быстросъемный крюк вертикального крепления (автомат)

С этим товаром покупают

Аналогичные товары

Популярные товары в этой категории:

Перевозка грузов на фаркопе

Крепления для велосипедов на фаркоп

Подключение фаркопа

Подключение без блока согласования

Подключение с блоком согласования

Популярные товары

Популярные товары для вашего авто

Запчасти и расходники для вашего авто

Выберите город

Популярные города

Город не найден

Вход в личный кабинет

Введите номер телефона для получения кода подтверждения.

Напишите нам в WhatsApp — вы войдёте автоматически.

Открыть WhatsApp

Пункты выдачи

В вашем городе нет пунктов выдачи