Тачка.Ру +7 (495) 120-10-50
Ищем...

Защита алюминиевая Мотодор усиленная для двигателя, КПП, переднего дифференциала, радиатора, РК Dodge Ram 1500 V 3,0D, дизельный двигатель 2018-2026. Артикул 32909

Бренд: Мотодор — Трио-Сервис (Россия) Артикул: 32909
55 990 ₽

✓ В наличии: 3

Доставка: 17 апреля (пт)

Цена доставки: Бесплатно

Самовывоз: 16 апреля (завтра)

Характеристики

Вес 24,7 кг
Материал Алюминий
Толщина 5 мм
Листов 4
Двигатель V=3.0, Дизельный
Размер 929x530; 612x535; 804x542; 1070x505 мм
Привод Полный
Прочее Защита устанавливается на автомобили без системы активного спойлера
Габариты в упаковке 929x530; 612x535; 804x542; 1070x505

Аналогичные товары

Популярные товары в этой категории:

Популярные товары

Описание

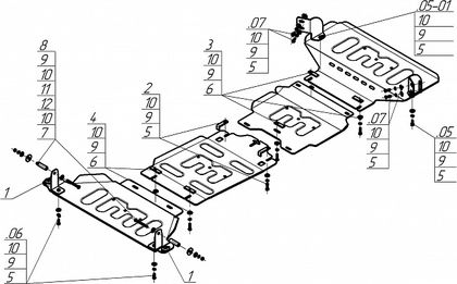
Защита устанавливается на автомобили без системы активного спойлера. В отверстия в Щите 4 установить демпферы. 1. В штатные отверстия рамы автомобиля установить задние кронштейны прим помощи болтов М10х100, шайб и гр. шайб 10, шайб 14, а также проставок 73.
2. В штатные отверстия в кронштейнах рамы установить передние кронштейны при помощи закладных планок, болтов М10х30 с шайбами и гр. шайбами 10.
3. Прикрепить задние точки щита 4 к задним кронштейнам при помощи болтов М10х30 с шайбами и гр. шайбами 10.
4. В штатные отверстия в поперечине рамы установить передние точки щита 4 совместно с задними точками щита 3 при помощи планок ПР 80х20х6 М10, болтов М10х40 с шайбами и гр. шайбами 10.
5. В штатное отверстие в поперечине рамы установить переднюю точку щита 3 совместно со средней точкой крепления щита 2 при помощи планки ПР 70х20х6 М10, болта М10х40 с шайбой и гр. шайбой 10. 6. Соединить щит 2 и щит 3 при помощи планок ПЗ 79х20х6 М10, болтов М10х40 с шайбами и гр. шайбами 10. 7. В штатные отверстия в поперечине рамы установить передние точки щита 2 совместно с задними точками щита 1 при помощи планок ПР 70х20х6 М10, болтов М10х40 с шайбами и гр. шайбами 10. 8. Прикрепить передние точки щита 1 к передним кронштейнам при помощи болтов М10х30 с шайбами и гр. шайбами 10. Затянуть весь крепеж.
55 990 ₽

Выберите город

Популярные города

Город не найден

Вход в личный кабинет

Введите номер телефона для получения кода подтверждения.

Напишите нам в WhatsApp — вы войдёте автоматически.

Открыть WhatsApp

Пункты выдачи

В вашем городе нет пунктов выдачи