Тачка.Ру +7 (495) 120-10-50
Ищем...

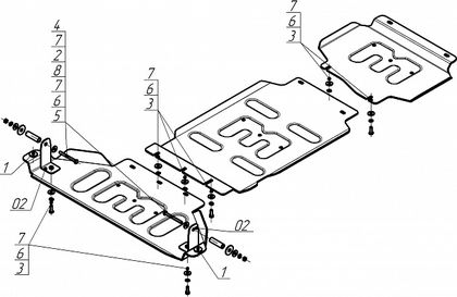
Защита алюминиевая Мотодор усиленная для картера, переднего дифференциала, КПП, раздаточной коробки Dodge Ram 1500 V рестайлинг 2024-2026. Артикул 32914

Бренд: Мотодор — Трио-Сервис (Россия) Артикул: 32914
54 730 ₽

✓ В наличии: 12

Доставка: 17 апреля (пт)

Цена доставки: Бесплатно

Самовывоз: 16 апреля (завтра)

Характеристики

Вес 16,5 кг
Материал Алюминий, 5 мм
Двигатель V=3.0, Бензиновый
Размер 607x470, 550x905, 424x1070 мм
Привод Полный
Прочее АКПП
Габариты в упаковке 837x258, 612x535, 550x925, 1060x405

Аналогичные товары

Популярные товары в этой категории:

Популярные товары

54 730 ₽

Выберите город

Популярные города

Город не найден

Вход в личный кабинет

Введите номер телефона для получения кода подтверждения.

Напишите нам в WhatsApp — вы войдёте автоматически.

Открыть WhatsApp

Пункты выдачи

В вашем городе нет пунктов выдачи