Тачка.Ру +7 (495) 120-10-50
Ищем...

Защита алюминиевая Мотодор для радиатора, картера двигателя, РК, КПП Jeep Grand Cherokee WL 2021-2026. Артикул 35201

Бренд: Мотодор — Трио-Сервис (Россия) Артикул: 35201
42 050 ₽

✓ В наличии: 7

Доставка: 24 апреля (пт)

Цена доставки: Бесплатно

Самовывоз: 23 апреля (завтра)

Характеристики

Вес 19,3 кг
Материал Алюминий
Толщина 5 мм
Двигатель V=3.6, 5.7
Размер 995x857; 1154x504 мм
Прочее Устанавливается поверх штатного пыльника

Аналогичные товары

Популярные товары в этой категории:

Популярные товары

Популярные товары для вашего авто

Описание

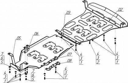
Для монтажа балок крепления переднего щита снять штатный пыльник двигателя. 1. Прикрепить балку .05 в штатные резьбовые отверстия в кузове автомобиля при помощи болтов М10х20 с шайбами и гр. шайбами 10.
2. Прикрепить кронштейн.06 под штатные болты крепления поперечины КПП.
3. Прикрепить кронштейн.07 (для автомобилей с двигателем объёмом 3,6 литра) или кронштейн .08 (для автомобилей с двигателем объёмом 5,7 литра) под штатные болты крепления поперечины КПП.
4. Прикрепить балку .04 под штатные болты крепления усилителя.
5. Прикрепить балку .03 под штатные болты крепления подрамника. 6. Вернуть на место штатный пыльник, сделав в нём вырезы под крепление щитов. Прикрепить задний щит к балке .05, кронштейнам .06 и .07 при помощи болтов М8х30 с шайбами и гр. шайбами 8. 7. Прикрепить задний щит совместно с передним щитом к балке .04 при помощи болтов М8х40 с шайбами и гр. шайбами 8. 8. Прикрепить передний щит к балке .03 при помощи болтов М8х30 с шайбами и гр. шайбами 8. 9. Прикрепить передний щит в штатное резьбовое отверстие в подрамнике при помощи болта М8х40 с шайбой и гр. шайбой 8. Затянуть весь крепеж.
42 050 ₽

Выберите город

Нажмите «Найти» или Enter — мы определим город и выберем ближайшее почтовое отделение по индексу.

Популярные города

Город не найден

Введите 6 цифр индекса

Вход в личный кабинет

Введите номер телефона для получения кода подтверждения.

Напишите нам в WhatsApp — вы войдёте автоматически.

Открыть WhatsApp

Пункты выдачи

В вашем городе нет пунктов выдачи